Part one of the The Sea-Dweller Chronicles was a deep dive into the beginnings of Rolex’s professional diving toolwatch specifically made for saturation divers. Initialy conceived as an Uber Submariner resistant to pressures up to 1650 ft/500 m of sea water, it soon became clear the Sea-Dweller needed a special pressure release device to prevent it from bursting during decompression from long exposure to helium and other gases.
Dr. Ralph W. Brauer, a leading US hyperbaric researcher received the very first valve prototype to be tested during one of the most daring enterprises in the history of diving: Comex Hydra 1. While Brauer’s watch is a super important milestone in the history of the Rolex Sea-Dweller, further tests needed to be made before the Sea-Dweller could be introduced to the general public. And this is where part two of The Sea-Dweller Chronicles resumes.
.
Distributing the Single Red Sea-Dwellers
As mentioned in The Sea-Dweller Chronicles: Genesis Of The Decompressing Watch, after Brauer’s prototype proved viable, Rolex retrofitted the valve to some 1.6 mil Single Red Sea-Dwellers (aka SRSDs) and presented them to people related to SEALAB 3.
At least four of these watches surfaced so far. Two are without known provenance, one belonged to Philippe Cousteau, son of famed marine explorer Jacques Cousteau and the fourth watch was given to another person related to SEALAB 3.
Philippe Cousteau was scheduled to shoot a documentary on SEALAB 3. His watch with typical SRSD case number 1602920 was auctioned in 2014 but featured a later Double Red Mk1 dial. It can be assumed Philippe’s watch was updated during a service in 1969/70 where it lost its invaluabble Single Red dial.
The picture below was taken on September 30, 1972 in Monaco and shows Philippe Cousteau (left) next to his famous father Jacques Cousteau on board of the legendary Calypso. Philippe was wearing the updated Sea-Dweller with Double Red Mk1 dial.
For a watch to be internally permeated with helium, it has to be exposed to a helium atmosphere for a long period of time. Helium enters the case slowly through the rubber gaskets and possibly the crystal. The Rolex patent filed on November 6, 1967, states:
… lorsqu’elles sont soumis pendant des durées relativement longues, de l’ordre de plusieurs centaines d’heures, à des pressions relativement fortes, de l’ordre des plusieurs dizaines d’atmostphères …
Translation: … when they are exposed for relatively long periods, of the order of several hundreds of hours, to relatively strong pressures, of the order of several tens of atmospheres …
.
It can be assumed that Dr. Brauer’s watch survived the Physalie dives undamaged but the test was not conclusive as the two divers remained at depth for a few minutes only. The valve required further tests so Rolex decided to retrofit the valve into some of the Single Red Sea-Dwellers from the 1.6 mil range and present them to SEALAB 3 related personnel.
Without a Sea-Dweller stock ready to serve the market, Rolex gave up on the idea of using SEALAB 3 to promote the Sea-Dweller. Instead they saw the program as an opportunity to test the valve during a prolonged exposure to a helium atmosphere. Each Aquanaut team was scheduled to stay at depth for at least twelve days, long enough for the watches to get fully permeated with helium.
The picture below of SEALAB 3 Team One shows Bob Barth (standing, center) and Berry Cannon (front, far left) wearing Single Red Sea-Dwellers with valves. According to Bob Barth, Team One received the watches shortly before the experiment was scheduled to begin. The rest of the Aquanauts in this picture wore Doxa Subs.
The fourth SEALAB 3 related SRSD which surfaced just recently gives us an idea as to when the watches were handed out. This particular watch was presented to its owner in October 1968. SEALAB 3 was scheduled for late October 1968.
Bob Barth’s SRSD suffered an interesting fate. Bob gave his SRSD at some point to his son. One day while working in Rio de Janeiro, Brazil, Bob’s son spent the night with a Brazilian lady. The next day, the lady was gone and so was the watch.
As mentioned earlier, the valve was retrofitted only to a certain number of watches. The unmodified Single Red Sea-Dwellers were presented to divers and explorers who did not work in helium saturated environments, such as Deepstar 4000 submersible pilots and Tektite 1 Aquanauts.
It is interesting to note that all of these 1.6 million SRSDs were presented to their new owners more than a year after they were produced (2nd quarter 1967).
.
Deepstar 4000
Deepstar 4000 was a submersible capable of descending to 4000 ft/1220m. The three-men undersea craft – equipped with a variety of scientic instruments – was designed by Jacques Cousteau and built in Marseille in a joint venture with the American company Westinghouse. It was the first commercial submersible to receive a US Navy certification.
The next picture shows the Single Red Sea-Dweller with case number 1602913 presented to Deepstar 4000 pilot Robert Palmer Bradly.
Robert Palmer Bradly received his Single Red Sea-Dweller during a ceremony to celebrate the 500th dive of the submersible in November 1968. The picture below shows the very moment Bradley received his example.
Read more: Robert Palmer Bradley’s Single Red-Sea-Dweller
Deepstar 4000 was mentioned in a Rolex Submariner advertisement from 1969. Note that in 1969, neither the Sea-Dweller nor the Submariner Date (Ref. 1680) were available to the general public.
The whereabouts of the SRSDs presented to the other three pilots are unknown. At least one crew member of the Deepstar 4000 support crew received a Rolex Submariner 5512 at the above mentioned event to celebrate the 500th dive.
.
Tektite 1
Tektite 1 was a joint project of the US Navy, the US Department of Interior, NASA (National Aeronautics and Space Administration) and General Electric to study how men reacted under stress to long-term exposure to a closed environment similar to that of a spacecraft. Four scientists lived for 60 days – from February 15 to April 15, 1969 – completely isolated from the rest of the world in an underwater habitat placed in the warm waters off St. John Island, Virgin Islands in the Caribbean.
Since the Aquanauts dwelled in a nitrogen-oxygen environment at a depth of only 50 ft/15 m, their watches did not require a Gas Escape Valve. In February 1969, T. Walker Lloyd – Rolex’s newly appointed Oceanographic Consultant – travelled to St. John Island and presented seven Rolex watches to all Aquanauts involved in Tektite 1. At least three were Single Red Sea-Dwellers, the rest Submariners 5512.
Richard Waller and Ian Koblick received Single Red Sea-Dwellers. John VanDerwalker received a Submariner 5512 with case number 1744441. Ian Koblick’ s watch – seen below – was acquired from the Aquanuat in recent years and is one of the best documented Single Red Sea-Dwellers to date. This photo was provided by @silas815.
Read more: John VanDerwalker’s Rolex Submariner 5512 (Christie’s)
The next picture shows Tektite 1 leader Richard A. Waller (right) wearing his Single Red Sea-Dweller during a conversation with Aquanaut Ian Koblick (left) and an official from the Department of Interior. This photo was first published by @rolexpassionreport.
It is interesting to note that the Swiss watch brand Certina was also present at Tektite 1. Certina supplied the Aquanauts with some of their latest DS-2 Super PH 500 M and DS-2 Super PH 1000 M diving watches.
Read more: The Watch of Tektite Aquanaut Ian Koblick (vintagecertinas.ch)
Read more: John VanDerwalker’s Certina DS-2 Super PH 1000 M (Christie’s)
.
SEALAB 3
SEALAB 3 was lowered to its pitch black location at 100 fathoms (610 ft/185 m) the very same day the four inhabitants of Tektite 1 descended to their new underwater home in the clear waters of the Caribbean. From the very beginning, SEALAB 3 was plagued with a series of problems that delayed the experiment for more than a year. In addition, due to the ongoing Vietnam War and other defense requirements, SEALAB 3 had no top priority in the Navy.
At the time, the US Navy was developing a Deep Diving System (DDS) consisting of two separate Deck Decompression Chambers (DDC) and an elevator named Personnel Transfer Capsule (PTC) to transport the divers to and from their underwater work site while maintaining the required pressurized environment.
The first DDS protoype – ironically called Mk2 – was to be built in the surface support vessel USS Elk River, a WW2 landing ship that was undergoing conversion at the time. The USS Elk River with its integrated DDS on board was a vital part of SEALAB 3.
As it soon turned out, the materials chosen for the DDC failed to meet the safety standards due to an error in specification. Initially scheduled for late 1967, SEALAB 3 was postponed to late 1968. At some point in 1968, the Navy decided to lower the habitat to daunting 610 ft/185 m instead of the previously planned 450 ft/137 m. This was almost three times the depth of SEALAB 2 (205 ft/62 m) and made the experiment much more complex and dangerous. It is believed the decision was made as saturation diving had caught the attention of Cold War strategists and underwater habitats in particular became part of their plans to control the oceans.
SEALAB 3 was scheduled for late October 1968 off the coast of San Clemente Island, California – an island owned and operated by the US Navy. Helium leaks found around the PTC viewports required a new type of gaskets which delayed the experiment for another month. When on November 30, 1968, the whole set-up was finally ready, the only operational Personnel Transfer Capsules (PTC) was accidentaly flooded during an unmanned routine test at a depth of 590 ft/180 m. The severely damaged PTC set the project back for another two and a half months.
On February 15, 1969, the habitat was finally lowered to its position but it soon became clear it was leaking precious helium gas. The vessel had never been pressure tested with helium. Since gas supply was limited, corrective action had to be taken immediately or the habitat would be lost.
A four-man team consisting of Bob Barth, Berry Cannon, John Reaves and Richard Blackburn was sent down to plug the leaks. During their two hours long descent to the habitat, the four Aquanauts had to endure chilling temperatures in the unheated PTC. In a helium atmosphere, the human body loses heat at a distressingly high rate. Electrically heated suits planned for the long descent could be not used as they presented an electrical hazard. After a first attempt at entering the habitat failed, the four men were brought back to the DDC. A second attempt hours later led to Berry Cannon’s death as a result of an empty carbon dioxide scrubber.
The next picture was taken inside the DDC shortly before Berry Cannon (left) and Bob Barth transferred into the PTC for the second attempt at saving the habitat.
Berry Cannon’s fatal accident was the tragic culmination of a project that had become too complex with too many moving parts. In consequence, the US Navy abandoned the experiment and the habitat was returned to the surface. After nearly a week of decompression, the surviving Aquanauts returned to normal surface pressure.
An interesting observation is that the four Aquanauts entered the Deck Decompression Chamber (DDC) wearing Rolex Sea-Dwellers. When the three surviving men left the chamber after almost seven days of decompression, all of them were wearing Doxa Subs.
Read more: The Doxa HRV
.
Double Red Sea-Dweller Testing Program
With SEALAB 3 abandoned, Rolex were denied a perfect opportunity to test the valve during prolonged exposure to a helium atmosphere. The Genevean company soon learned that Omega – always with Comex as their testing partner – was working on a super diving watch capable of withstanding depths of 2000 ft/600m.
At this point, Rolex decided to produce new Sea-Dweller prototypes based on the first valve prototype given to Dr. Ralph W. Brauer. The idea was to loan them to professional divers in return for test reports. For some reason, Rolex refrained from retrofitting the valve to the 1.7 million non-valve cases produced in late 1967.
Since Rolex could not enter the market with a lesser watch than the Omega, they increased the depth rating of new Sea-Dweller from 1650 ft/500 m to 2000 ft/610 m.
The first two batches were manufactured in mid 1969 and had case numbers in the 2.117 mil and 2.128 mil range. Compared to the first valve prototype given to Dr. Ralph W. Brauer in mid 1968, these new prototypes had an almost identical valve.
The new cases were slightly taller than Dr. Brauer’s first valve prototype watch (1820177) and the lugs were different in shape.
Another interesting difference can be found on the back of the cases. The new cases had a distinct circular groove around the case opening (see arrow), possibly to create a slightly deeper seat for the caseback to reduce the overall height of the watch. This is an important detail that will be discussed in detail later.
The first dial to be developed was the so-called Double Red Mk0. Compared to the Single Red, the new dial featured the names Sea-Dweller and Submariner both prominently printed in flashy red colour. The luminous markers became larger and moved closer to the edge.
Both these dials are extremely rare. The Double Red Mk0 is even rarer than the Single Red as only a handful have surfaced so far. What both have in common is a quite roughly applied lume.
The Double Red Mk0 is a super interesting dial that contains important clues as to when it was designed. Note the difference in typeface between Sea-Dweller and Submariner which can best be captured by comparing the first Ss.
The Sea-Dweller print is exactly the same as on Single Red dials while the Submariner text is the very same as on earliest Red Submariner 1680 Mk1 made in the second quarter of 1969.
Only a small number of the earliest released prototypes left Geneva with Double Red Mk0 dials. For some reason, Rolex were not happy with this dial and soon created a variation with Sea-Dweller and Submariner printed in a uniform typeface.
Designwise, the late 1960s were dominated by the Space Race. Designers became inspired by science fiction and soon the first watch cases resembling spacecraft emerged with Omega leading the way. One of these watches was the Ploprof prototype made for Comex Hydra 1 in late 1968.
While this type of cases were somewhat revolutionary, Rolex were not necessarily known for following trends. Their approach to design was evolution rather than revolution. The Rolex Submariner remained basically the same over the course of seven decades.
In the late 1960s, all of humanity’s technological dreams and hope received the timestamp 2000. A good example is Stanley Kubrick’s epic science fiction movie 2001: A Space Odyssey that came out in 1968.
It appears Rolex wanted to give the Sea-Dweller a futuristic touch by adding 2000 next to Submariner.
The third prototype batch was produced in the third quarter of 1969 and had case numbers in the 2.247 million range. A few watches had a Double Red Mk1 dial while the majority was equipped with a variation of the Mk1 known as Double Red Mk2 where Submariner 2000 was printed in a smaller size to emphasize the model name Sea-Dweller.
There are two types of Double Red Mk2 dials, one featuring a very thin print and one which is much fatter and the Sea-Dweller – Submariner 2000 text appears to have been printed in white first and then overprinted in red colour.
The first two batches had movements with serial numbers ranging between 380,000 to 400,000. The third batch had slightly later movements in the 540,000 to 550,000 range.
One of the things all 1969 prototype watches had in common was the caseback with Patent Pending designation. When these watches were made, the Swiss patent was still pending. It would take another year to be granted (June 1970). While the Patent Pending designation was hand-applied on the earliest valve prototypes like Dr. Brauer’s watch for instance, the new casebacks appear to have been chemically etched.
The inside of the casebacks bear the production date IV.67, which stands for fourth quarter of 1967. This indication is a bit misleading as it only refers to the production date of the casebacks and has nothing to do with the date the watches were assembled. Rolex used Sea-Dweller casebacks stamped IV.67 up to and including the 2.9 million batch from late 1971.
Casebacks with IV.67 stamp were produced during the premature launch of the 1.7 mil production, before Rolex became aware of the issues posed by helium. In addition to the usual stamps, all examples made in 1969 had the last three digits of their case numbers engraved on the inside of their casebacks. A total of around 300 of these prototypes watches were produced throughout all three batches.
The first prototypes were loaned to professional divers in late 1969. This is when a British diver named Charles Rayner received his example with case number 2128269. Rayner’s watch is now in the collection of @watchguru_ and is particularly interesting as it features an ultra rare Double Red Mk0 dial. Only 27 numbers away from this watch there is another piece with the very same type of dial.
US Navy diver Charles E. Gross received his example with Double Red Mk1 dial and case number 2128225 around the same time. The picture below shows him wearing the watch during a cold stress study in a hyperbaric chamber at the Navy Experimental Diving Unit (NEDU) in Washington DC.
Four prototypes featuring Double Red Mk1 dials were given to Navy divers in early 1970 to be evaluated during a prolonged simulated dive to 1000 ft/300 m at NEDU in Washington DC.
The next picture was taken during the experiment and shows James L. A. Majendie, Thomas A. Guzicki and Troy R. Brown inspecting a Mark 10 Mod 3 Mixed-Gas Closed-Circuit Breathing Apparatus which was tested in the wet pot inside the hyperbaric chamber.
The experiment started on June 22, 1970 and lasted – including eight days of decompression – until July 19, 1970, totalling in 28 days of exposure to a helium atmosphere. According to a Rolex letter, these watches were supplied to Rolex New York in February 1970.
.
The Sea-Dweller Enters The Market
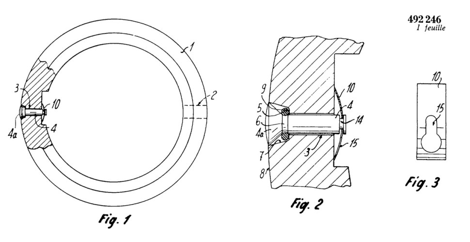
In June 1970, the Swiss Federal Institute of Intellectual Property finally granted Rolex the patent for the Gas Escape Valve – more than two and a half years after the application was filed.
Link to Patent: Montre étanche (CH492246) .
Successful saturation experiments like the one conducted at the Navy Experimental Diving Unit (NEDU) mentioned above gave Rolex the confidence to introduce the Sea-Dweller to the general public. In late 1970, authorized Rolex dealers in the US started promoting the Rolex Sea-Dweller as The Decompressing Watch in American newspapers. The earliest advertisement found so far was published in the Rapid City Journal from South Dakota on November 16, 1970. Price for the watch at the time was USD 300.00.
A closer look at this ad reveals the helium valve was still referred to as being Patent Pending. Another interesting detail is the number of jewels stated for the movement. Caliber 1575 (1570) had only 26 jewels, not 30. This type of ad was used between late 1970 and 1973.
According to a 1979 Rolex booklet titled Your Rolex Oyster, the Sea-Dweller was introduced to the market in 1971.
The earliest Submariner/Sea-Dweller booklet found so far – depicted below – was printed in November 1971 (1171-6-11308) and showed the Sea-Dweller 1665 in Double Red Mk1 configuration. The very same picture of the Sea-Dweller was used in this type of booklet at least until September 1977.
Despite the official lauch, Rolex continued to loan Sea-Dweller Patent Pending prototypes to professional divers in return for test reports. A niche product like the Sea-Dweller was probably hard to sell at the time. There were not many professional saturation divers in the early 1970s and most regular customers did most certainly not understand what the valve was all about. Rolex wanted to make sure as many professional divers as possible were seen wearing a Rolex Sea-Dweller.
A perfect example for this is an extensively documented Patent Pending Double Red Sea-Dweller with case number 2117464 which was given in loan to an American diver named John M. Kelly living in Singapore. As usual for this type of watch, the watch featured a Double Red Mk1 dial where the red print faded to pink over time.
When the watch arrived to Singapore in June 1971, Mr. Kelly received the following letter.
Mr. Kelly sent his first test report to Rolex Singapore on January 5, 1972. In two occassions, the American diver stated that in zero water visibility, the watch could not be seen. However, overall he was quite happy with the watch.
“The Rolex Sea Dweller has performed very well on all diving operations. My only suggestion to date is for a stroner crystal to withstand scratches by shell life common to ships hulls, etc.”
.
On February 17, 1972, Mr. Kelly received a reply from Rolex Geneva in which the Genevean company explained that all future tests would be carried out exclusively by an undisclosed diving firm. For this reason, Rolex gifted the watch to Mr. Kelly. Note that in the first paragraph, Rolex described the watch as Sea-Dweller prototype.
The diving firm referred to in this letter was the French professional diving company Comex (Compagnie Maritime d’Expertises).
.
The Omega-Comex Cooperation
From 1968 to 1971, Comex was working exclusively with the Swiss watch brand Omega. According to a Comex brochure, the cooperation with Rolex started in 1971. The agreement must have been signed in late December 1971 as during the Comex Sagittaire 1 experiment which took place between November 9 and December 2, 1971, the Comex divers involved in the study were still testing Omega Seamaster 600 prototypes.
The next picture shows Comex diver Bernard Adam during Sagittaire 1 clearly wearing an Omega Seamaster 600 Ploprof.
In the early 1970s, Comex emerged as the leading force in commercial saturation diving. Nobody else was pushing the boundries of the physically possible further. In 1970, Comex inauguarted their completely new and more capable Comex Hyperbaric Center in Marseille, France.
With this new facility at their disposal, the French company established yet another depth record on November 19, 1970. Two divers reached a pressure equivalent to 1706 ft/ 520 m in an experiment named Physalie 5 and stayed at depth for one hour and 17 minutes.
To commemorate this spectacular achievement, Omega awarded each of the two divers an Omega Seamaster Automatic Ref. 166.032 with engraved caseback.
Since 1968, Omega was working with Comex to create the ultimate saturation diving watch, the so-called PloProf (Plongeur Professionnel = professional diver). Omega knew of the problems with exploding watches as their Seamaster 300 had gone through the same issues. Unlike Rolex, Omega engineered the PloProf from scratch to make it impossible for helium to even enter the case. To deny the tiny gas molecules a way into the watch, the cases were front-loaded monoblock constructions (no caseback) with mineral crystals screwed-down with 9 pounds of torque.
After a series of tests with a variety of prototypes, Omega settled on the quirky Seamaster 600 PloProf – even though Comex divers preferred the simpler design used during Hydra 1, which would later become the Seamaster 1000.
The next photo shows Comex founder Henri Delauze’s very own Seamaster 600 PloProf prototype that is now in the collection of @i_merlin13.
Note the red plastic bolt screw for the crown. The first prototypes used plastic to prevent the mechanism from oxidizing and getting stuck.
According to information received, Comex divers thought the Seamaster 600 was over-engineered. Omega focussed heavily on the rotating bezel with the complex locking mechanism but with saturation diving, divers could work in six hour shifts which rendered the elasped time bezel basically obsolete as it only measured 60 minutes. Saturation diving can be compared to a space mission. There is a mission control supervising the entire operation, timing, gas-mixtures, etc. Diving watches were no longer a vital part of the equipment.
When I met US Navy diving legend Bob Barth at his home in Panama City, Florida in October 2017, he told me rotating bezels were useless for saturation divers – except maybe for boiling eggs in their habitats – he added jokingly. Bob recounted how the bezel of his Rolex Submariner kept falling off, so he simply glued it back on.
Coming back to the Ploprof, the crown construction of the Omega Seamaster 600 was truly a masterpiece of engineering. The winding crown itself did not screw in, it was linearly driven against two gaskets by a bolt screw, thus avoiding torsional stress on the seals.
The Swiss patent application for this invention was filed in October 1968.
Link to Patent: Watch-case with a watertight winding crown (Google Patents)
.
The following Omega advertisement from early 1971 refers to JANUS 2, a series of deep dives conducted in September 1970 off the coast of Corsica in which Comex divers tested the Omega Seamster 600 PloProf extensively. For the first time in history, real work such as connecting, cutting and welding pipelines was accomplished at a record-depth of 826 ft/252 m.
In late 1971, Comex all of a sudden turned their back on Omega and went with Rolex instead. Omega enthusiasts have long speculated as to what led to the premature break-up. Some believe the high price for the PloProf was responsible, which is certainly true to some extent but the real reason is much simpler. Rolex historian Jake Ehrlich (Rolexmagazine.com) interviewed Comex founder Henri Delauze in 2009. During their interesting conversation, Delauze recounted how Rolex director André Heiniger approached him and offered Comex 100 co-branded watches for free. Delauze said he immediately terminated the cooperation with Omega when he received the first watches from Rolex.
“One day Mr. Heiniger proposed to give me 100 watches that will be called Rolex-Comex for free that we will give to 100 deep divers, and everytime we have to repair one we were supposed, and we did send the watches to Geneva so that we have a good knowledge of what were the fragile points of the watches, and then nearly every two years they give us 200 more Rolex-Comex.
I knew Omega before Rolex and I abandoned Omega immediately when he bring me 100 new watches.”
.
Another big mystery solved! As mentioned earlier, Comex was not necessarily happy with Omega’s decision to go with the quirky Seamaster 600. The divers preferred a simpler design. This and a number of other issues made it easy for Delauze to cut ties with Omega.
Rolex knew, if they wanted the Sea-Dweller to be perceived as the ultimate diving tool watch, they had to partner up with Comex – by any means necessary. For Comex on the other hand, it was a huge privilege to be associated with a leading brand like Rolex, in addition to receiving free Rolex watches. It was a win-win situation and let us be honest, Rolex-Comex sounds great too. Anyway, in return for free watches, Rolex were allowed to use the Comex name for marketing purposes and they used that right to the full extent.
.
The First Rolex-Comex Watches
In late 1971, Rolex sent the first watches to Comex. The small batch consisted of ten Rolex Sea-Dwellers with Double Red Mk2 dials and case numbers in the 2.6 million range. Sea-Dwellers from this case number range were the first to feature a Rolex Patent caseback, as they were assembled after the Gas Escape Valve patent was granted. All ten pieces were double-signed on their casebacks with Rolex-Comex in addition to bearing the numbers 1 to 10.
The next image shows one of the ten earliest Sea-Dwellers delivered to Comex in late 1971. This super rare watch once belonged to @_drstrong_.
These watches featured regular Double Red Mk2 dials. Double signed Rolex-Comex dials were introduced in 1974.
Comex was not only chasing depth records. As a commercial diving company, their main objective was to make money by carrying out pipeline connections and repair beneath oil plattforms. Most of these dives took place between 165 ft/50 m and 500 ft/150 m below sea level, at depths that did not require an expensive Sea-Dweller.
For this very reason, Rolex made a special run of the non-COSC Submariner 5513 with Gas Escape Valve in 1972. The 5513 with Gas Escape Valve soon received its own reference number 5514. None of these watches were ever available to the public.
Note that the above 5513 GEV features a titanium valve (different colour than the case). This type of valve was introduced in 1972.
In February 1972, Comex tested the Rolex Sea-Dweller for the first time under extreme pressure. Two divers spent 100 hours – more than 4 days – at a simulated depth of 1640 ft/500 m in an experiment named Sagittaire 2.
A more extreme test followed soon. On May 24, 1972, Comex established a new hyperbaric world record in a helium-oxygen environment during Physalie 6. Comex divers Robert Gauret (left) and Patrice Chemin took their Double Red Sea-Dwellers – probably belonging to the first batch of ten pieces – down to 2000 ft/ 610 m, the maximum depth guaranteed for the Sea-Dweller.
The first Physalie dives conducted by Dr. Ralph W. Brauer not only helped describe the High-Pressure Nervous Syndrome (HPNS) in its entirety, they also showed that using considerably slower compression rates could postpone the symptoms. In Physalie 6, the two divers were compressed to 2000 ft/ 610 m in seven days and three hours. To compare, in March 1968, Dr. Brauer and Henri Delauze went down to 1100 ft/335 m in two hours.
Physalie 6 required almost ten days (233 hours) of decompression to return to normal surface pressure. The experiment took place from May 16 to June 2, 1972 and was mentioned in one of the earliest Rolex Sea-Dweller advertisements. The watch depicted in the ad had a Double Red Mk2 dial.
With Comex as their partner, Rolex began to market the Sea-Dweller as the ultimate saturation diving toolwatch. The memory of the early Omega-Comex partnership faded away and for some reason, people started to assume Rolex had developed the Sea-Dweller exclusively for Comex. Some even claimed – and continue to claim – the Submariner 5513/5514 with Gas Escape Valve was the prototype for the Sea-Dweller.
.
1.7 million Sea-Dwellers
As explained in the first part of the Sea-Dweller Chronicles, Sea-Dweller cases with case numbers in the 1.7 million range were made in the fourth quarter of 1967 but remained unused due to the simple fact that they were not meant to feature a valve. The idea for the helium valve reached Rolex after the production started.
Around mid 1970, Rolex startet retrofitting the valves to the 1.7 million cases. Evidence for this can be found in the fact that most of these watches featured later dials in combination with later movements. In addition, most of these watches had Rolex Patent casebacks, which is clearly an indication these timepieces entered the market after the patent was granted in June 1970.
1.7 million watches can be found in a variety of configurations. The standard version consists of Double Red Mk2 dials in combination with Rolex Patent casebacks. Then there is a small number of watches with Patent Pending casebacks combined with Double Red Mk1/2 dials. Interestingly, most of these Patent Pending casebacks do no feature the last three digits of the case number on the inside. These rare pieces are a mystery on their own and worth investigating further. The most peculiar group within the 1.7 million range is undoubtedly a series of non-valve watches with all sorts of dials.
Cases from this case number range are slightly thinner than the ones from 2.1, 2.2, 2.6 and 2.9 million range. All of them are nevertheless referred to as thin-case. Rolex introduced a redesigned thicker case in the first quarter of 1972 (I.72).
The next picture shows how little space there is in a 1.7 million case. To accommodate the valve, the flat valve spring needed to be smaller in width.
The comparison below shows that 1.7 mil cases have the very same circular groove around the opening of the case as 2.1 mil cases. 1.6 mil SRSDs and Dr. Ralph Brauer’s 1.8 mil SRSD valve prototype do not feature this detail. Finishing-wise, 1.7 mil cases are closer to 2.1 mil cases.
The very same type of groove can be found on 2.2 mil, 2.6 mil and all following Ref. 1665 until case number 5.3 million.
For some reason, a small fraction of 1.7 million Sea-Dwellers were not equipped with the Gas Escape Valve. It is unknown what the reasoning behind offering Sea-Dwellers without valves in 1971 was. These non-valve models can be found with a variety of dials. Some have the elusive Double Red Mk0 while others were found with either Double Red Mk1 or Mk2 dials. There seems to be no clear concept which could be an indication they were either left-overs assembled with whatever parts were available – or – they were altered with early dials to pass them as Tektite prototypes due to the low 1967 case numbers.
The next picture shows case number 1719770, a non-valve Sea-Dweller that features an elusive Double Red Mk0 dial. It was auctioned by Antiquorum in April 2008 and fetched USD 237,600. The following pictures were taken by @pboutros.
Note the roughly applied lume. This is consistent with other known Double Red Mk0 dials.
In Antiquorum’s catalogue, the watch was described as an early prototype:
“This prototype version was the forerunner of the Sea Dweller 2000. These prototype Rolex Sea-Dwellers were produced in a small batch in 1967. They were produced without a helium escape valve and in a thinner case and without engravings on the back. They were presented to the worlds leading deep sea divers for testing and reporting on the watches’ dependability in deep sea dives. It is believed that only 30 Rolex Sea Dweller cases were produced without the gas escape valve. Most of these prototypes did not survive decompressions and the gas escape valve which were already being fitted to early Submariners ref. 5513 and ref. 5514 were required for the Sea-Dweller. The present watch is one of the first Rolex Sea-Dwellers to have been produced by Rolex Geneva and is extremely rare.
This watch is illustrated in ‘1908-2008, 100 Years of Rolex’, by Franca And Guido Mondani, 2008 Edition, page 129.”
.
Direct link to auction: Prototype No Valve Double Red Rolex (Antiquorum)
.
This description has of course no basis in reality. What it seems to hint at is the small batch of Single Red Sea-Dwellers from the 1.6 million case number range made in the second quarter of 1967 but Double Red dials were introduced in 1969 with 2.1/2,2 million Sea-Dwellers. It also suggests the Submariners 5513/5514 with valve from 1972 were made before the Sea-Dweller.
Antiquorum’s 1719770 is only three numbers away from another known non-valve Sea-Dweller with case number 1719767 that is fully documented in the book A Journey Into The Deep on page 35 to 38. The watch in question features a movement with serial number D803,643. Other non-valve Sea-Dwellers from the 1.7 million range – and also Sea-Dwellers with valve for that matter – have in average very similar movement numbers.
To compare, the earliest SRSDs with 1.6 million case numbers have movement serials in the D70,000 range. Since all watches were imported to the US, their movements featured the Rolex US import code ROW.
Interestingly, none of the known 1.7 million Sea-Dwellers have movements with an US import code. These codes were discontinued in 1969, so if the 1.7 million Sea-Dwellers were assembled in 1967 – as often claimed – at least the watches imported to the US should bear an import code. The following list shows how the movement serial numbers were distributed among the different batches of the Sea-Dweller. These are the average numbers.
1967
– 1602913: D73,158 (ROW, non-valve, Bradley)
– 1602915: 64,14X (ROW, non-valve, Koblick)
– 1602922: D71,617 (ROW)
– 1602926: D69,145 (ROW, non-valve)
1967?
– 1719767: D803,643 (non-valve)
– 1719785: D831,617 (non-valve)
– 1719786: D796,549 (non-valve)
– 1719787: D233564 (non-valve)
– 1721685: D834,144 (non-valve, sold in Nov. 1971)
– 1759659: D829,517 (non-valve, altered with SRSD dial)
1968
– 1820177: D69,043 (Dr. Ralph W. Brauer)
1969
– 2117410: D397,445
– 2117471: D362,707
– 2117475: D394,669
1969
– 2128245: D390,518
– 2128269: D363,266
– 2128275: D377,731
1969
– 2247966: D548,691
– 2247986: D547,409
– 2247995: D549,761
1970/71
– 2665630: D804,035
– 2665650: D832,967
– 2665706: D837,993
Notice a pattern? Essentially, the majority of the 1.7 million Sea-Dweller have similar movement serial numbers as Sea-Dwellers from the 2.6 million case number batch. Their casebacks may say IV.67, just as any Sea-Dweller up to and including the 2.9 million batch but movement numbers do not lie. New casebacks were only produced in the first quarter of 1972 (stamped I.72) and used for 3.06 mil cases onwards.
The above movement numbers list shows that the story put forth about non-valve Double Red Sea-Dwellers from the 1.7 million range being early prototypes is most certainly an invented myth.
Most of these non-valve watches feature Double Red Mk1 dials but there are also some examples with Double Red Mk2 or even ultra rare Double Red Mk0 dials. There is no clear pattern. One of these non-valve watches featuring a Double Red Mk2 dial and a movement with serial D834,144 was sold in November 1971.
It is therefore probable these watches were left-over pieces from the 1.7 mil range where Rolex – for some reason – did not make an effort to retrofit the valve. Perhaps they were assembled from left-over parts and only sold in certain markets. When these watches were assembled, the Swiss watch industry was in the midst of the so-called Quartz Crisis, a situation that wiped-out dozens of famous Swiss watch companies. Saving money was a priority for all.
There is also the possibility that these watches were altered over the past twenty years in order to create the myth of early prototypes. Back in the day and with the right contacts, it was possible to extract prototype dials from Rolex, like the Double Red Mk0 for instance. Seeing this type of dial in watches sold around 1971 makes not much sense to me. Whatever the truth, 1.7 mil non-valve watches are very rare and will therefore always be something extraordinary.
.
Made-up Single Red Sea-Dweller
Another peculiar piece from 1.7 mil case number range is case number 1759659 featuring a Single Red dial. Considering the case number and the movement serial D829,517, it becomes evident this watch is just another made-up piece created to lure gullible collectors into the rare prototype trap.
This watch was offered twice by Antiquorum, first in May 2017 and then again in December 2018. Both times the watch remained unsold even though Antiquorum claimed it was sold in December 2018.
What we see here is a regular 1.7 million non-valve Sea-Dweller assembled in 1970/71. The movement number D829,517 of this watch is absolutely consistent with other non-valve pieces from the same case number range.
– 1719767: D803,643 (non-valve)
– 1719785: D831,617 (non-valve)
– 1719786: D796,549 (non-valve)
– 1721685: D834,144 (non-valve, sold in Nov. 1971)
– 1759659: D829,517 (non-valve, altered with SRSD dial)
Here is what happened. A smart dealer was able to source a super rare but water-damaged Single Red dial. Unaware that Sea-Dwellers from the 1.7 million range were assembled after the 2.1/2.2 mil batches which already featured Double Red dials with a depth rating of 2000 ft/610 m, the smart dealer installed the rare Single Red dial into this watch to create the illusion of an Ultra-Rare Prototype and pocket a massive premium.
One glimpse at the open watch and the movement makes clear the condition of the water-damaged dial does not match the rest of the watch at all.
Antiquorum advertised this watch as having a rare Pat. Pend. clasp. The thing is the patent for the diver extension (Gay Frères, US3521331) was granted in July 1970 but the clasp of this watch is stamped 4.71. All clasps after 1.71 were marked Patented.
Link to patent: Clasp for a metallic bracelet (Google Patents)
.
After the December 2018 auction, Antiquorum made an Instagram post celebrating the successful sale. According to the post, the watch sold for HKD 3,400,000 which is over USD 400,000. Interestingly, the Antiquorum website states the watch as not sold.
Direct link to auction: Rolex, Ref 1665, Sea-Dweller, Steel The Single Red Prototype – Patent Pending – 500M-1650FT – One of six known
.
This very watch was presented in 2015 as Ultra-Rare Prototype by a watch blog named Monochrome Watches. I contacted Frank Geelen, the founder of Monochrome, with all the information and asked him to remove their article. So far there was no reaction. It is sad to see watch blogs promoting fake watches to mislead collectors. Unfortunately, this is not the only questionable vintage watch promoted on their website.
Read more: Cool Finds: an ultra-rare prototype of Rolex Single-Red Sea-Dweller Ref. 1665 dialed 500M/1650FT (Monochrome-Watches)
.
This watch was part of a watch fund named Precious Time Fund which invested in collectible watches. Most of their watches were authenticated by French watch dealer and Antiquorum CEO Romain Rea. In 2015, Investors reclaimed their money and the fund was liquidated. According to information received, the watch fund acquired this watch from a pawn shop in Chicago via US dealer.
.
A Journey Into The Deep
Many of the discoveries published in The Sea-Dweller Chronicles were made possible thanks to the spectacular and detailed photography provided by Mr. John Goldberger and first published in his book A Journey Into The Deep. The volume offers an amazing overview of incredibly rare Rolex dive watches.
Buy Online: A Journey Into The Deep (Hodinkee Shop).
.
Thoughts
Just like the first professional diving tool watches Rolex made for the Italian Navy in the 1940s, the Sea-Dweller was created to meet the needs of a revolutionary new form of diving. Researching its history opened up a much larger field of interest and only through this context everything began to fall in place.
Realizing the importance of Dr. Ralph W. Brauer’s valve prototype was a true eye opener. Suddenly, everything started to make sense. Brauer’s watch was literally the final piece of the Sea-Dweller puzzle.
During the research for this article, I enjoyed to learn more about Omega’s role in this history. The horological race between Rolex and Omega to conquer the so-called inner space is absolutely fascinating and worth an own article. Rolex realized there was no way around Comex to become the king of the oceans and they moved quickly to seize the moment. It was ultimately not necessarily the better watch that won but the more versatile one, and it was for free too.
Thank you for your interest.
.
Special thanks to: Tom Bolt (@watchguru_), John Goldberger (@goldberger), Jake Ehrlich (@rolex.magazine), Petros Protopapas & Omega Museum (@omegamuseum), T Solo T (@t_solo_t), Silas Leung (@silas815), Nicholas Biebuyck (@nicholasbiebuyck), Valdo (@119_code_commando), Philipp Stahl (@rolexpassionreport), Luc Broussaud (@comex3133), Jed McCormack (@jedly1), Paul David Maudsley (@pauldavidmaudsley) and Ian Koblick.
.
History of the Rolex Sea-Dweller
The development of the Rolex Sea-Dweller goes hand in hand with man’s persistence to push the boundries and reach never before thought possible depths. The following infographic shows the evolution of the Sea-Dweller in its historical context.
This graphic is available as a high quality print in two sizes:
- Regular small, 120cm x 68cm (47 x 26 inch): EUR 85.00 (plus shipping)
- Regular, 150cm x 85cm (59 x 33 inch): EUR 120.00 (plus shipping)
Limited: 50 pieces, numbered and signed by Bob Barth, the legendary US Navy Aquanaut who pioneered saturation diving during the famous SEALAB missions. Bob developed the idea for the Rolex Gas Escape Valve: Sold out































































Another fantastic installment, bravo
LikeLike
thank you for this fascinating research..
LikeLike